2016-2022 All Rights Reserved.平安財經網.復制必究 聯系QQ 備案號:
本站除標明“本站原創”外所有信息均轉載自互聯網 版權歸原作者所有。
郵箱:toplearningteam#gmail.com (請將#換成@)
據Electrek周一發布的一份報告稱,特斯拉已經為一種新的布線結構申請了專利,該布線結構將使其汽車更易于機器人組裝。

當特斯拉是在 加速生產過程的 模型3,并試圖使用更加自動化比它與以前的型號,機器人遇到了麻煩鋪設長,軟盤線束和Tesla不得不恢復到其人執行該過程。
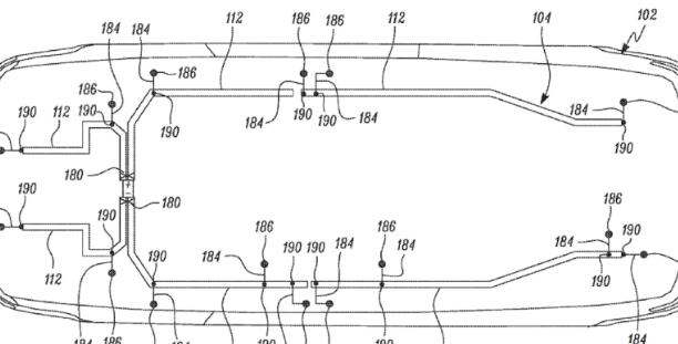
特斯拉當時的直接解決方案是將各種線束的尺寸縮小為較小的部分,這些部分的安裝不需要那么復雜。新的架構設計通過將線束分解為帶有控制器的子組件來迭代該想法。這也使線束件變得更堅固,從而簡化了機器人的安裝。
這些子組件可以預先組裝并放置在車輛部件中-特斯拉在其專利申請中以門為例-因此,唯一需要在線上進行的電氣連接是門子組件和主織機之間的連接。
這種類型的模塊化結構還將減少線束中的單根電線的數量。其他好處可能包括能夠更輕松地升級車輛的電氣組件和系統,因為它不需要影響整個線束。
特斯拉的設計仍在申請美國專利的過程中,但是它很簡潔,而且如果實現的話,可以節省大量的人工成本。
2016-2022 All Rights Reserved.平安財經網.復制必究 聯系QQ 備案號:
本站除標明“本站原創”外所有信息均轉載自互聯網 版權歸原作者所有。
郵箱:toplearningteam#gmail.com (請將#換成@)