2016-2022 All Rights Reserved.平安財經網.復制必究 聯系QQ 備案號:
本站除標明“本站原創”外所有信息均轉載自互聯網 版權歸原作者所有。
郵箱:toplearningteam#gmail.com (請將#換成@)
中國科技巨頭和步步高子公司OPPO在創新方面經常努力保持領先地位。我們已經看到了許多近期的專利申請,這些專利指出了公司在可折疊顯示器,攝像頭技術甚至游戲方面的發展方向。OPPO廣東移動通信有限公司的一項新專利剛剛被發現。該專利名為“游戲控制器”,該申請于2019年9月9日提出。OPPO游戲控制器

該專利已于今年3月公開,申請號為CN112451961A。專利說明書指出,隨著電子游戲產業的迅速發展,移動游戲由于其便利性而得到了廣泛的推廣。為了更好地操作游戲,為了方便起見,通常在手機外部需要一個游戲板。
現有的手機游戲手柄主要分為兩類。一種是無法插入耳機的游戲手柄,即手機被夾在游戲手柄的中間,并且游戲手柄擋住了手機的3.5毫米音頻插孔,因此在使用時無法使用有線耳機游戲控制器。另一種設計是游戲手柄,其頂部具有手機支架。控制器看起來像普通的操縱桿游戲手柄,它釋放了用于插入音頻插孔或在游戲時使用充電端口的空間。
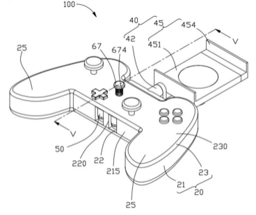
OPPO的專利游戲控制器提供了一個游戲手柄和一個用于存放耳機的外殼。頂部還有一個隔層,可以容納手機。
我們不能說這款產品何時會投放市場,但由于設計是基本的,因此將其付諸實踐可能并不難。
2016-2022 All Rights Reserved.平安財經網.復制必究 聯系QQ 備案號:
本站除標明“本站原創”外所有信息均轉載自互聯網 版權歸原作者所有。
郵箱:toplearningteam#gmail.com (請將#換成@)