2016-2022 All Rights Reserved.平安財經網.復制必究 聯系QQ 備案號:
本站除標明“本站原創”外所有信息均轉載自互聯網 版權歸原作者所有。
郵箱:toplearningteam#gmail.com (請將#換成@)
Apple 正在研究如何取出MacBook Pro鍵盤上的一個鍵,并將其用作精密鼠標。

Apple 確實探索了每一種可以想到的鍵盤設計,但一項新披露的專利申請詳細說明了一個非常奇怪的問題。多產的 Apple 發明家 Paul X. Wang提議使用可移動鼠標,他之前的工作包括玻璃鍵盤計劃。
“可部署的鍵盤鼠標”聽起來不像蘋果公司典型的未來主義計劃,而更像是對 1980 年代前觸控板時代的回歸。那時,PC 用戶可以將鼠標卡在筆記本電腦的一側,并且很難使用這些非常不符合人體工程學的設備。
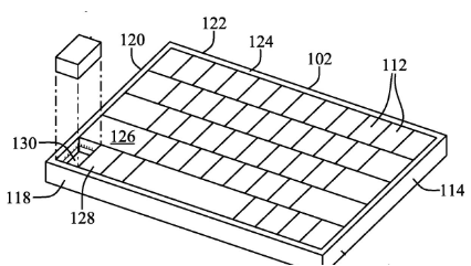
該專利申請提出的是,普通鍵盤(例如 MacBook Pro 上的鍵盤)可能具有一個可拆卸的特殊鍵。采取這一shift鍵-或許在新的“全球通”鍵從iPad的 魔術鍵盤-有你的鼠標。
這是你的非常非常小的鼠標。
“可移動鑰匙可以有一個位置傳感器,”專利申請說,“[所以它] 可以作為計算機指點設備運行......因此可移動鑰匙結構可以為計算機輸入提供舒適、便攜和精確的指針輸入系統。”
確實,您可以在桌子周圍移動鍵/鼠標,并更精確地控制光標。但從專利申請的圖紙來看,這將比蘋果臭名昭著的冰球鼠標更小、更笨重。
Apple 的專利申請講述了該公司如何在 80 年代普及鼠標。
“在接下來的幾年里,電腦鼠標經歷了一系列的創新,包括增加了左右鍵、滾輪、光學傳感器、軌跡球傳感器、激光傳感器以及無線通信到鼠標。主機,”它繼續說道。
“在某些情況下,便攜式計算設備,例如筆記本電腦和平板電腦,可以從使用外圍鼠標輸入設備中受益,”Apple 說。“然而,用戶需要在電腦上攜帶單獨的鼠標,當電腦已經有內置的指點設備時,單獨的設備可能是多余的。”
因此,這里的目的不是替換觸控板,而是在需要比手指控制更精細的控制時提供可選的鼠標。雖然該應用程序沒有詳細介紹用途和好處,但您可以想象 Photoshop 用戶偶爾需要在其圖像編輯中獲得真正的精確度。
該專利申請涉及物理鍵如何在鍵盤內外工作。在其中,按鍵必須像鍵盤上的任何其他按鍵一樣做出反應和響應。
然后當它被移除時,它必須具有這種位置感應能力。此外,從 MacBook Pro 或其他設備中移除后,它必須有自己的電路和電池。
作為一只非常非常小的老鼠,它必須做到這一點。
“鼠標通常采用符合人體工程學的形狀,以舒適地握在手中,”該應用程序說,因為它描述了多年來指點設備的發展情況。“這是保持其規模相對穩定的一個因素。”
2016-2022 All Rights Reserved.平安財經網.復制必究 聯系QQ 備案號:
本站除標明“本站原創”外所有信息均轉載自互聯網 版權歸原作者所有。
郵箱:toplearningteam#gmail.com (請將#換成@)