2016-2022 All Rights Reserved.平安財經網.復制必究 聯系QQ 備案號:
本站除標明“本站原創”外所有信息均轉載自互聯網 版權歸原作者所有。
郵箱:toplearningteam#gmail.com (請將#換成@)
彈出式零售亭可以讓客戶與Apple個人購物者進行遠程交互,因為他們可以通過視頻和AR展示iPhone或其他設備。

蘋果已經在Apple Store中進行了虛擬演示。它也創建了店內HomeKit動手演示來進行照明。并進行了研究,使蘋果個人購物人員通過AR出現在您的家中。
現在,一個新公布的專利申請表明,蘋果公司正在研究如何創建演示單元,即“以流暢,視覺上吸引人的方式向客戶遠程演示產品的設備”。這是一個系統,用于記錄如何對Apple員工進行現場演示拍攝,并將該演示虛擬地傳遞給買家。
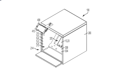
“遠程演示單元和系統”顯示了一個類似盒子的小型設備,可以在其中展示產品。從圖中可以看出,您如何想象安全意識強的商店可能會顯示非常高價值的商品。
蘋果公司描述了工作人員帶著設備伸入這個盒子,并在里面進行演示。蘋果公司沒有直接描述的是用戶如何看待這個演示,或者確切地將在哪里進行。
那是因為專利申請確實與如何實現這種演示有關。蘋果似乎不太可能認為可以賣給我們一個盒子,而每次我們想給公司更多錢時,我們都會求助于它。
然而,它可以在Apple Store中用于顯示尚未庫存的物品。或者它可以在沒有商店的區域提供攤位。可以想象,盒子可以留在蘋果電腦上,并且其中拍攝的AR圖像可以發送到用戶的“蘋果眼鏡”或類似設備。
Apple似乎對在家中的消費者的視覺效果不那么明顯,而對市外Apple Store等零售場所的視覺效果更強。它給出的幾個示例包括這樣的設備如何“可以允許客戶與遠程位置(例如,在呼叫中心)的客戶服務員工聯系并與之交互”……或“零售商店”。
無論位于何處,其想法都是這樣的“遠程客戶支持系統”可以允許“允許客戶提出問題并從員工那里獲得幫助”。
這完全是控制客戶看待產品的方式,并確保他們能夠以最佳的方式對其進行檢查。蘋果公司表示:“員工與實物產品進行交互的演示可以幫助客戶更好地理解使用該產品的體驗,因為用戶與實物產品的交互可能會對用戶的體驗產生重大影響。”
“與實體零售商店一樣,用于遠程進行產品實時視覺演示的系統也可能為零售商提供機會,為客戶提供獨特的體驗,使客戶可以與零售商或其產品相關聯。” Apple繼續說道。
它說:“例如,零售商可能會選擇在特定環境中展示產品,以創造出與零售商所需的視覺品牌一致的特定視覺外觀或印象。”
這一切都表明蘋果公司正在考慮可以向其他零售商銷售的設備,但事實并非一定如此。編寫專利申請時要盡可能覆蓋盡可能多的領域,以使其
2016-2022 All Rights Reserved.平安財經網.復制必究 聯系QQ 備案號:
本站除標明“本站原創”外所有信息均轉載自互聯網 版權歸原作者所有。
郵箱:toplearningteam#gmail.com (請將#換成@)